文号 索引号 关键词
主题分类 卫生健康领域 体裁分类 服务对象

公共场所卫生许可(变更法人)

发布机构: 发布时间: 2022-05-26 浏览次数:
基本信息
事项名称

公共场所卫生许可(变更法人)

事项类型

行政许可

实施主体

平顶山市湛河区卫生健康委员会

办件类型

即办件

法定办理时限20个工作日 查看说明承诺办理时限1个工作日
权力来源

同级授权

行使层级

县级

是否涉及特殊环节不涉及是否涉及中介服务不涉及
实施主体性质

法定机关

服务对象

自然人、企业法人、事业法人、行政机关

是否网办

办理形式

窗口办理、网上办理

网上办理深度

互联网咨询、互联网收件、互联网预审、互联网受理、互联网办理、互联网办理结果信息反馈

通办范围

全国

数量限制

四办标志

马上办、网上办、一次办

最多到现场办事次数

0次

必须现场办理原因说明

是否支持物流快递

是否网上支付

行使内容

公共场所卫生许可(变更法人)

权限划分

扩展信息

入驻网上办事大厅方式

统一受理式

是否投资事项

是否支持预约办理

是否进驻政务实体大厅

个人主题分类

设立变更、医疗卫生

是否支持自助终端办理

面向自然人的事件分类(人生事件)

其他

法人主题分类

设立变更、医疗卫生

面向法人的特定对象分类

中小企业、民营企业、私营企业、个体工商户

面向自然人的特定人群分类

面向法人的经营活动分类

其他

办理地址

平顶山市湛河区(县)光明路中段街道163号 湛河区政府院内

窗口描述

湛河区政务服务中心6号卫健委窗口

交通指引

市内公交车:6路、18路、17路到湛河区政府站下

系统名称

河南省政务服务平台统一受理系统

地图坐标

33.7423235991,113.2990831922

办理系统咨询电话

一、固话咨询:0375-7028177   二、网上咨询地址: http://was.hnzwfw.gov.cn/evaluation-web/userAuthent/getUserAuthent.do?flag=3

监督投诉电话

一、固话投诉:0375-3500075 1、河南省政务服务网上投诉平台: http://was.hnzwfw.gov.cn/evaluation-web/userAuthent/getUserAuthent.do?flag=4

编码信息

实施主体编码

11410411005471944P

实施编码

11410411005471944P4000123020000

地方实施编码

005471944XK39808002

业务办理项编码

11410411005471944P400012302000002

收起

申请条件

《公共场所卫生管理条例实施细则》第二十七条:公共场所经营者变更单位名称、法定代表人或者负责人的,应当向原发证卫生计生行政部门办理变更手续。
公共场所经营者变更经营项目、经营场所地址的,应当向县级以上地方人民政府卫生计生行政部门重新申请卫生许可证。

设定依据

《公共场所卫生管理条例》(国发〔1987〕24号)第四条:国家对公共场所以及新建、改建、扩建的公共场所的选址和设计实行“卫生许可证”制度。“卫生许可证”由县以上卫生行政部门签发。
《公共场所卫生管理条例实施细则》(2011年3月10日卫生部令第80号)第二十二条:国家对公共场所实行卫生许可证管理。公共场所经营者应当按照规定向县级以上地方人民政府卫生计生行政部门申请卫生许可证。未取得卫生许可证的,不得营业。……
《国务院关于第六批取消和调整行政审批项目的决定》(国发〔2012〕52号)下放管理层级的行政审批项目第49项:公共场所改、扩建卫生许可,下放至设区的市级、县级人民政府卫生行政部门。
《国务院关于整合调整餐饮服务场所的公共场所卫生许可证和食品经营许可证的决定》(国发[2016]12号)规定:取消地方卫生部门对饭馆、咖啡馆、酒吧、茶座等4类公共场所核发的卫生许可证,有关食品安全许可内容整合进食品药品监管部门核发的食品经营许可证。

收起
申请材料
序号
材料名称
来源渠道
来源渠道说明
材料必要性
材料下载
材料类型
收取方式
纸质材料规格
填报须知
受理标准
材料依据
1公共场所卫生许可证变更申请表申请人自备申请人自备必要空表下载样表下载原件:1
复印件:2
收取纸质材料、上传电子文件查看须知查看受理标准查看依据
2公共场所卫生许可证申请人自备必要原件:1
复印件:0
收取纸质材料、上传电子文件查看须知查看受理标准查看依据
收费信息

不收费

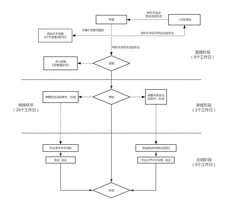
办理流程
流程图预览
  • 1
    收件
    时限: 0个工作日审批人: 刘孝尊
    办理结果:收件

    审查标准

    根据材料要求
  • 2
    受理
    时限: 0个工作日审批人: 刘孝尊
    办理结果:录入

    审查标准

    依据法律法规
  • 3
    审核
    时限: 0个工作日审批人: 温轲
    办理结果:审批

    审查标准

    依据法律法规
  • 4
    决定
    时限: 0个工作日审批人: 张艳娜
    办理结果:出决定

    审查标准

    依据法律法规
  • 5
    送达
    时限: 1个工作日审批人: 刘孝尊
    办理结果:携带身份证领取

    审查标准

    携带身份证领取
审批结果
序列结果名称结果样本结果类型领取说明
1卫生许可证 卫生许可证 证照现场领取的,领取人需携带有效身份证和受理通知单。
常见问题
问题解答
请问多长时间办结?!法定时间20个工作日,承诺时间10个工作日。


【附件下载】: |||