| 文号 | 索引号 | 关键词 | |||
| 主题分类 | 交通领域 | 体裁分类 | 服务对象 |
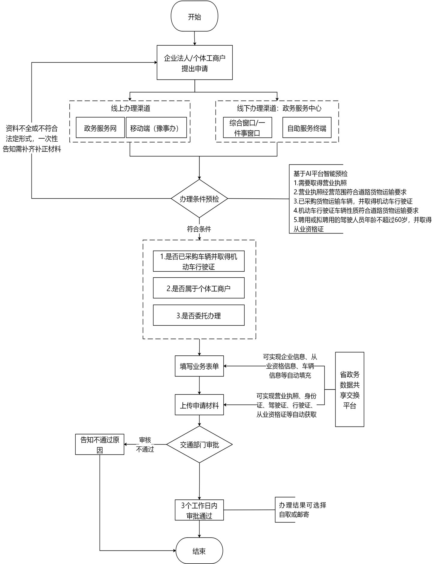
开办货运企业“一件事”办理指南
道路货物运输经营许可
1.道路货物运输经营许可(除使用4500千克及以下普通货运车辆从事普通货运经营外)
2.普通货物营运车辆道路运输证配发
1、需要取得营业执照
2、营业执照经营范围符合道路货物运输要求
3、已采购货物运输车辆,并取得机动车行驶证
4、机动车行驶证车辆性质符合道路货物运输要求
5、聘用或拟聘用的驾驶人员年龄不超过60岁,并取得从业资格证。
1.河南省开办运输企业“一件事”申请表(纸质、电子)申请人自备
2.法人(负责人)身份证明(纸质、电子).申请人自备.
3.中华人民共和国机动车行驶证(纸质、电子)政府部门核发
4.经办人的身份证明(纸质、电子)申请人自备
5.中华人民共和国机动车登记证书(纸质、电子)政府部门核发
6.经办人委托书(纸质、电子)申请人自备.
7.机动车综合性能检测合格证明(纸质、电子)申请人自备
8.车辆技术等级评定结论(纸质、电子)申请人自备
9.道路运输车辆达标核查表或车辆转籍、过户证明(转籍、过户车辆提供)(纸质、电子)申请人自备
10.拟投入运输车辆的承诺书,承诺书应当包括车辆数量、类型、技术性能、投入时间等内容(纸质、电子)申请人自备
11.重型货车、半挂牵引车还应提供车辆安装使用具有行驶记录功能的卫星定位装置的证明(纸质、电子)申请人自备
12.聘用或者拟聘用驾驶员的机动车驾驶证(纸质、电子)政府部门核发
13.聘用或者拟聘用驾驶员的从业资格证(纸质、电子)政府部门核发
14.安全生产管理制度文本(纸质、电子)申请人自备
15.营业执照(纸质、电子)政府部门核发
办事网点 | 窗口地址 | 办理时间 | 咨询电话 |
湛河区政务服务中心 | 平顶山市湛河区九里山街道姚电大道1号(光明路与姚电大道交叉口向西550米路北) | 上午8:00-12:00 下午3:00-6:00 | 0375-2619919 |

问题1:道路货物运输经营许可有哪些类别?
解答1:道路货物运输经营许可分为普通货运、道路货物专用运输(集装箱、冷藏保鲜、罐式容器)、大型物件运输、网络货运。
问题2:哪些制度为安全生产管理制度?
解答2:安全生产操作规程;安全生产和岗位责任制;安全生产监督检查制度;从业人员安全管理制度;安全例会制度;安全培训和教育学习制度;车辆、设施、设备安全管理制度;事故处理应急预案等。
问题3:公司还未购置车辆,可以办理道路运输经营许可吗?
解答3:可以,需填写拟投入运输车辆的承诺书,承诺180天内投入货物运输车辆,若未在180天内落实承诺投入车辆,则自愿放弃道路货物运输经营权,撤销道路货物运输经营许可证,还会影响企业征信。
问题4:办理道路货物运输经营许可需要费用吗?
解答4:办理道路货物运输经营许可不需要向登记机关缴纳任何费用。
问题5:是否能够委托办理
解答5:专业运输公司有指定委托人,个人业务必须本人到场。
问题6:使用总质量4.5吨及以下普通货运车辆从事普通货运经营的,需申请办理货运经营许可吗?
解答6:使用总质量4.5吨及以下普通货运车辆从事普通货运经营的,无需申请取得道路运输经营许可。
问题7:运营证(道路运输证)是否可以转让、出租?
解答7:根据《道路货物运输及站场管理规定》第二十一条,道路货物运输经营者应当要求其聘用的车辆驾驶员随车携带《道路运输证》。《道路运输证》不得转让、出租、涂改、伪造。
问题8:对1年内违法超限运输超过3次的车辆运输车,吊销其车辆营运证.吊销营运证后还能从新办理吗?
解答8:根据《交通运输部 工业和信息化部 公安部 工商总局 质检总局关于进一步做好货车非法改装和超限超载治理工作的意见》(交公路发〔2016〕124号),1年内违法超限运输超过3次的车辆运输车,吊销其车辆营运证。吊销车辆营运证后,根据地方交通运输主管部门有关规定,可在一定期限后申请重新办理。
问题9:普通货车获得危险货物运输许可(《道路运输证》)后,是否成为“道路危险货物运输专用车辆”?
解答9:明确专用车辆概念是为了区分运输危险货物和运输一般货物的车辆,其含义的重点是“满足特定技术条件和要求、载货汽车、运输危险货物”三个基本要点。满足特定技术条件和要求是指车辆应当符合国家标准《营运车辆综合性能要求和检验方法》(GB 18565)、技术等级达到行业标准《营运车辆技术等级划分和评定要求》(JT/T 198)规定的一级技术等级;专用车辆外廓尺寸、轴荷和质量符合国家标准《道路车辆外廓尺寸、轴荷和质量限值》(GB 1589)的要求;专用车辆燃料消耗量符合行业标准《营运货车燃料消耗量限值及测量方法》(JT 719)的要求,并获得危险货物运输许可(《道路运输证》)。载货汽车则在概念的外延上将小轿车、客车、自行车等运输工具排除适用范围。运输危险货物明确了运输货类为危险货物而非一般货物。同时,《危规》的“专用车辆”,不同于汽车术语中的“专用货车、专业作业车”。也就是说,普通货车(如,栏板货车)获得危险货物运输许可(《道路运输证》)后,即为《危规》所特指的“专用车辆”。